UNIDENTIFIED

MAGIC I/O PLUS CARD

Hard Drives supported

Two IDE (AT) drives

Floppy drives supported

Two 360KB, 720KB, 1.2MB, or 1.44MB drives

Data Bus

16-bit ISA

Card Size

Half-length, full-height card

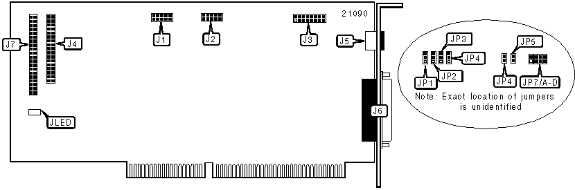
CONNECTIONS

Function

Location

Function

Location

10-pin serial port 1 - internal

J1

Bus mouse port - external

J5

10-pin serial port 2 - internal

J2

25-pin parallel port - external

J6

16-pin game port

J3

40-pin IDE(AT) connector

J7

34-pin cable connector - floppy drive

J4

Drive active LED

JLED

USER CONFIGURABLE SETTINGS

Function

Label

Position

»

IDE(AT) interface enabled

JP1

Pins 1 & 2 closed

 

IDE(AT) interface disabled

JP1

Pins 2 & 3 closed

PARALLEL PORT ADDRESS SELECTION

Setting

JP5

JP6

LPT2 (278h)

Closed

Open

LPT3 (3BCh)

Pins JP5/1 & JP6/2 closed

Disabled

Open

Closed

SERIAL PORT 1 ADDRESS SELECTION

Setting

JP2

JP3

JP4

COM1 (3F8h)

Pins 2 & 3 closed

Pins 1 & 2 closed

Pins 1 & 2 closed

COM2 (2F8h)

Pins 2 & 3 closed

Pins 2 & 3 closed

Pins 1 & 2 closed

COM1 & COM2

Pins 1 & 2 closed

Pins 1 & 2 closed

Pins 2 & 3 closed

Disabled

Pins 1 & 2 closed

Pins 2 & 3 closed

Pins 2 & 3 closed

MOUSE BUS INTERRUPT SELECTION

IRQ

JP7/A

JP7/B

JP7/C

JP7/D

2

Open

Open

Open

Closed

3

Open

Open

Closed

Open

4

Open

Closed

Open

Open

5

Closed

Open

Open

Open