REPLY CORPORATION

MODEL 32

Processor

80386DX/80486SX/80486DX/80486DX2

Processor Speed

20/25/33/50(internal)/50/66(internal)MHz

Chip Set

C & T

Max. onboard DRAM

16MB

SRAM Cache

64/128/256KB (on CPU card)

BIOS

Reply Corporation

Dimensions

330mm x 250mm

I/O Options

32-bit MCA bus slot with video extension, CPU card,

floppy drive interface, MCA hard drive interface,

parallel ports (2), PS/2 mouse port, serial ports (2), VGA port

NPU Options

80387DX/3167

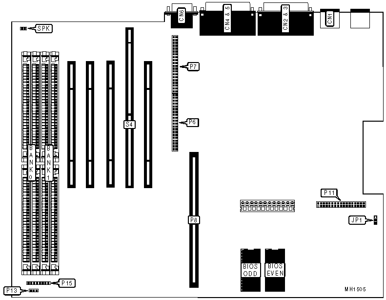
CONNECTIONS

Purpose

Location

Purpose

Location

PS/2 mouse port

CN1

CPU processor card

P8

Parallel port (top)

CN2

Floppy drive interface

P11

Parallel port (bottom)

CN3

External Battery

P13

Serial port (top)

CN4

Front panel connector

P15

Serial port (bottom)

CN5

MCA bus slot with video extension

S4

VGA Port

CN6

Speaker

SPK

MCA hard drive interface

P6 & P7

   

USER CONFIGURABLE SETTINGS

Function

Jumper

Position

»

CMOS memory normal operation

JP1

pins 1 & 2 closed

 

CMOS memory clear

JP1

pins 2 & 3 closed

DRAM CONFIGURATION

Size

Bank 0

Bank 1

1MB

(4) 256K x 9

NONE

2MB

(4) 256K x 9

(4) 256K x 9

4MB

(4) 1M x 9

NONE

5MB

(4) 256K x 9

(4) 1M x 9

8MB

(4) 1M x 9

(4) 1M x 9

16MB

(4) 4M x 9

NONE