KINGSTON TECHNOLOGY CORPORATION

DK100-S2

Device Type

Internal Tape Drive

Interface

SCSI

Format

DAT, DDS

Sustained Transfer Rate

183 KBPS

Size

3.5 in. Half-height

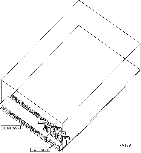
View

Top

USER CONFIGURABLE SETTINGS

Setting

Label

Position

»

Termination enabled

JP1

Closed

 

Termination disabled

JP1

Open

»

Factory configured - do not alter

JP5

Unidentified

DRIVE SELECT ID

Drive ID

JP2

JP3

JP4

»

0

Open

Open

Open

 

1

Open

Open

Closed

 

2

Open

Closed

Open

 

3

Open

Closed

Closed

 

4

Closed

Open

Open

 

5

Closed

Open

Closed

 

6

Closed

Closed

Open

 

7

Closed

Closed

Closed

MANUFACTURERS RECOMMENDED MEDIA

Tape

Capacity

90-meter DDS

2GB