TEAC CORPORATION

TAPE 800

Device Type

Internal Tape Drive

Interface

Floppy

Format

TRAVAN TR-1

Sustained Transfer Rate

500KBPS, 1MBPS

Size

3.5 in. quarter height

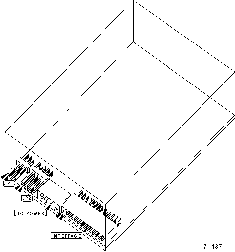
View

Top

USER CONFIGURABLE SETTINGS

Setting

Label

Position

»

Factory configured - do not alter

JP1

Unidentified

»

Factory configured - do not alter

JP2

Unidentified

MANUFACTURERS RECOMMENDED MEDIA

Tape

Capacity with Compression

TRAVAN TR-1

800MB

QW-5122 F

420MB

DC-2120 XL

340MB

DIAGNOSTIC LED(S)

LED

Color

Status

Condition

LED1

Unidentified

On

Tape is busy

LED1

Unidentified

Off

Tape is not in use