SEAGATE TECHNOLOGY, INC.
SIDEWINDER 200 INTERNAL
|
Device Type |
Internal Tape Drive |
|
Interface |
SCSI-2 Fast/Wide |
|
Format |
AIT-1 |
|
Sustained Transfer Rate |
3MBPS (Native), 6 to 9MBPS (Compressed) |
|
Size |
3.5 in. half height |
|
View |
Bottom |

|
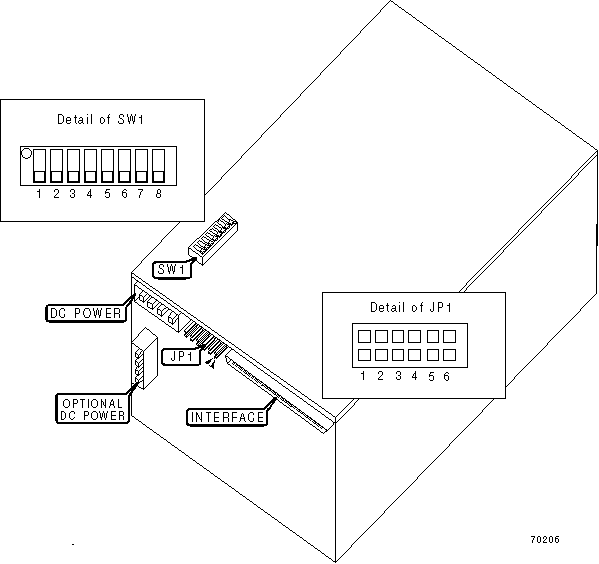
USER CONFIGURABLE SETTINGS |
|||
|
Setting |
Label |
Position |
|
|
» |
Parity check enabled |
JP1/1 |
Open |
|
|
Parity check disabled |
JP1/1 |
Closed |
|
» |
Factory configured - do not alter |
JP1/2 |
Unidentified |
|
» |
Factory configured - do not alter |
SW1/1 |
Unidentified |
|
» |
Factory configured - do not alter |
SW1/2 |
Unidentified |
|
» |
Factory configured - do not alter |
SW1/3 |
Unidentified |
|
» |
Factory configured - do not alter |
SW1/4 |
Unidentified |
|
» |
Termination enabled |
SW1/6 |
On |
|
|
Termination disabled |
SW1/6 |
Off |
|
» |
Data compression enabled |
SW1/7 |
On |
|
|
Data compression disabled |
SW1/7 |
Off |
|
» |
Factory configured - do not alter |
SW1/8 |
On |
|
DRIVE SELECT ID |
|||||
|
Drive ID |
JP1/3 |
JP1/4 |
JP1/5 |
JP1/6 |
|
|
» |
0 |
Open |
Open |
Open |
Open |
|
|
1 |
Open |
Open |
Open |
Closed |
|
|
2 |
Open |
Open |
Closed |
Open |
|
|
3 |
Open |
Open |
Closed |
Closed |
|
|
4 |
Open |
Closed |
Open |
Open |
|
|
5 |
Open |
Closed |
Open |
Closed |
|
|
6 |
Open |
Closed |
Closed |
Open |
|
|
7 |
Open |
Closed |
Closed |
Closed |
|
|
8 |
Closed |
Open |
Open |
Open |
|
|
9 |
Closed |
Open |
Open |
Closed |
|
|
10 |
Closed |
Open |
Closed |
Open |
|
|
11 |
Closed |
Open |
Closed |
Closed |
|
|
12 |
Closed |
Closed |
Open |
Open |
|
|
13 |
Closed |
Closed |
Open |
Closed |
|
|
14 |
Closed |
Closed |
Closed |
Open |
|
|
15 |
Closed |
Closed |
Closed |
Closed |
|
TERMINATION POWER SELECTION |
||
|
Setting |
SW1/5 |
|
|
» |
TERMPWR supplied by drive |
On |
|
|
TERMPWR supplied by SCSI interface to drive |
Off |
|
MANUFACTURERS RECOMMENDED MEDIA |
||
|
Tape |
Capacity Without Compression |
Capacity With Compression |
|
AIT-1 |
100GB |
250+ GB |

|
DIAGNOSTIC LED(S) |
|||
|
LED |
Color |
Status |
Condition |
|
LED1 |
Green |
On |
SCSI interface is ready for data transfer |
|
LED1 |
Green |
Blinking |
Drive is either searching for data, reading/writing to tape, or rewinding the tape |
|
LED1 |
Green |
Off |
Drive is not in use |
|
LED2 |
Green |
On |
Cartridge is loaded into drive |
|
LED2 |
Green |
Blinking |
Cartridge is unloaded from drive |
|
LED2 |
Green |
Off |
No cartridge is loaded in drive |