HITACHI CORPORATION

GF-1050

Device Type

Internal DVD-ROM

Interface

SCSI-2

Spin Rate (Read/Write)

8x

Formats Supported Read

CD-XA, CD-DA, CD-R, CD-I, CD-ROM (Mode 1 & Mode 2), DVD-ROM, CD-RW

Formats Supported Write

CD-XA, CD-DA, CD-R, CD-I, CD-ROM (Mode 1 & Mode 2), DVD-ROM, CD-RW

View

Top

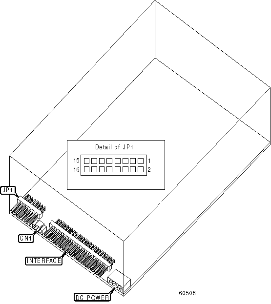
CONNECTIONS

Function

Label

Audio line out

CN1

USER CONFIGURABLE SETTINGS

Setting

JP1

»

Termination enabled

Pins 1 & 2 closed

 

Termination disabled

Pins 1 & 2 open

»

External termination power enabled

Pins 3 & 4 closed

 

External termination power disabled

Pins 3 & 4 open

»

Internal termination power enabled

Pins 5 & 6 closed

 

Internal termination power disabled

Pins 5 & 6 open

»

Write verify disabled

Pins 7 & 8 closed

 

Write verify enabled

Pins 7 & 8 open

»

Write cache enabled

Pins 9 & 10 closed

 

Write cache disabled

Pins 9 & 10 open

SCSI ID SELECTION

Drive ID

JP1

0

Pins 11 & 12 closed

1

Pins 13 & 14 closed

2

Pins 15 & 16 closed