PLEXTOR

PX-R820TI INTERNAL

Device Type

Internal CD-ROM

Interface

SCSI

Spin Rate (Read/Write)

20x

Formats Supported Read

CD-XA, CD-DA, CD-R, CD-I, CD-ROM (Mode 1 & Mode 2), Photo-CD, CD-Plus, CD-E, CD+G, CD-MIDI

Formats Supported Write

CD-XA, CD-DA, CD-R, CD-I, CD-ROM (Mode 1 & Mode 2), Photo-CD, CD-Plus, CD-E, CD+G, CD-MIDI

View

Top

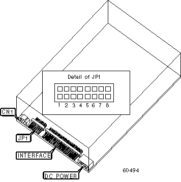
CONNECTIONS

Function

Label

Audio line out

CN1

USER CONFIGURABLE SETTINGS

Setting

Label

Position

 

Parity check disabled

JP1/4

Open

»

Parity check enabled

JP1/4

Closed

»

Termination enabled

JP1/5

Closed

 

Termination disabled

JP1/5

Open

»

Factory configured - do not alter

JP1/6

Open

»

Block disabled

JP1/7

Open

 

Block enabled

JP1/7

Closed

»

Factory configured - do not alter

JP1/8

Open

SCSI ID SELECTION

SCSI ID

JP1/1

JP1/2

JP1/3

 

0

Open

Open

Open

 

1

Closed

Open

Open

 

2

Open

Closed

Open

 

3

Closed

Closed

Open

»

4

Open

Open

Closed

 

5

Closed

Open

Closed

 

6

Open

Closed

Closed

 

7

Closed

Closed

Closed