SIEMENS NIXDORF

H395, H404, H405, H409

Device Type

Internal CD-ROM

Interface

IDE(AT)

Spin Rate (Read)

32x

Formats Supported Read

CD-XA, CD-R, CD-RW, CD-I, CD-ROM (Mode 1 & Mode 2), CD-Extra, ISO 9660, Photo-CD, Video CD, Red & Yellow Book, CD-Plus, Multi-session

View

Top

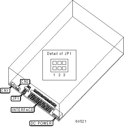
CONNECTIONS

Function

Label

Function

Label

Digital audio line out

CN1

Audio line out

CN2

MASTER/SLAVE SELECTION

Setting

JP1/1

JP1/2

JP1/3

Master in two drive system

Open

Open

Closed

Slave in two drive system

Open

Closed

Open

Master/slave determined by cable select

Closed

Open

Open